Вход/Регистрация
Крейсер «Очаков»
вернуться

Мельников Рафаил Михайлович

Шрифт:

Глубоко врезалась в воду еще не успевшая всплыть корма „Очакова”, взметнулся пенный гребень воды, и вот, уже поднявшись на ровный киль, задерживаемый сопротивлением воды корабль начинает замедлять свой бег. Загрохотали цепи отдаваемых якорей, и в кружеве пены, под грохот артиллерийского салюта, крейсер остановился. Спуск был завершен благополучно [37].

Глава 4. Достроечный период

§ 16. Местное бронирование и башенные установки

Опередив Петербургский порт чуть ли не на год („Олег” был спущен только 14 августа 1903 г.), севастопольское начальство, обгоняя готовность спущенного ранее (в мае 1902 г.) „Кагула”, рассчитывало ввести „Очаков” в строй первым.

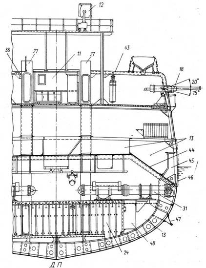
Общее расположение крейсера „Олег", Продольный разрез, вид сверху и план верхней палубы.

1 — салон командира; 2 — 47-мм орудие; 3 — щпиль и приводная брашпильная машина; 4 — щахта злеваторнрй подачи 75-мм патронов; 5 — главный компас; 6 — командирская рубка; 7 — штурманская рубка; 8 — грузовая стрела для подъема парового катера и электролебедка; 9 — коечные сетки; 10 — вентиляционная шахта; 11 — радиорубка; 12 — прожекторы на подвижной тележке на среднем поперечном мостике; 13 — угольная яма; 14 — ходовая рубка; 15 — боевая рубка; 16 — лазарет; 17 — шахта элеваторной подачи 47-мм патронов; 18 — 75-мм орудие; 19 — кран-крамбол;. 20 — мокрая провизия; 21 — цепной ящик; 22 — рефрижераторная мащина; 23 — пародинамомашина; 24 — погреб 152-мм боеприпасов; 25 — погреб 47-мм Латронов; 25 — погреб 64-, 47-и 37-мм патронов; 27 — шахты подачи 152-мм боеприпасов; 28 — центральный пост; 29 — боевой перевязочный пункт (операционная); 30 — котельное отделение; 31 — отделение подводных минных (торпедных) аппаратов; 32 — машинное отделение; 33 — упорный подшипник; 34 — погреб 152- и 37-мм боеприпасов; 35 — погреб 75-мм патронов; 36 — румпельное отделение; 37 — провизионные погреба; 38 — продольный мостик; 39 — 152-мм орудие; 40 — выстрел; 41 — пулемет, установленный на коечных сетках; 42 — горловины для погрузки угля; 43 — ростврные бимсы (для установки шлюпок над верхней палубой) с подвесным рельсом для беседок с патронами; 44 — скос броневой палубы; 45 — коффердам, наполненный пробкой; 46 — положение предполагавшегося по проекту № 5 (1906 г.) броневого пояса толщиной 50,8 мм; 47 — скуловой киль; 48 — коридор для переходов из кормового котельного отделения в среднее.

Первый бронированный крейсер Черноморского флота „Очаков” должен был стать украшением намеченных на осень 1904 г. торжеств 50-летия Синопского боя и Севастопольской обороны, включавших и „высочайший смотр” флота. Эти торжества должны были стать всероссийскими, к ним приурочивалось и открытие ряда памятников севастопольской обороны. Одним словом, опоздать с готовностью крейсера было нельзя!

Теперь все зависело от своевременности поставки плит вертикального бронирования (казематов, боевой рубки, башен, кожухов дымоходов и шахт элеваторов) и самих башенных установок. Если готовые котлы уже были в пути — плыли вокруг Европы к Севастополю, а главные машины монтировались для проведения испытаний на сормовском стенде, то о броне и башнях нельзя было даже сказать, что они существуют хотя бы в проекте.

Лишь в июне 1902 г. МТК установил основные принципы вертикального бронирования крейсеров, распределение поставок брони между заводами и сроки этих поставок. Только в ноябре Янковскому стало известно о представленных Металлическим заводом в МТК чертежах „кораблестроительных работ” по башенным установкам крейсеров; 4 декабря главный командир еще просил МТК о „скорейшем рассмотрении и утверждении” этих чертежей, чтобы дать возможность строителю начать разработку чертежей подачных труб башен.

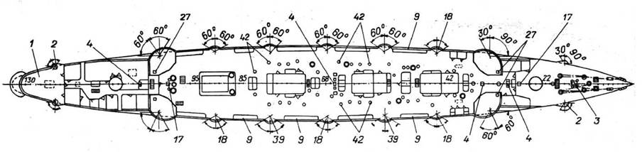
Общее расположение крейсера „Олег”. Поперечное сечение по шп. 68 (см. в нос)

Значительными задержками из-за бесконечных переделок чертежей грозило и сильное опоздание, как это уже не раз случалось, решения МТК (журнал по артиллерии от 22 июня 1902 г.) о руководящих принципах и требованиях „при составлении окончательных чертежей для заказа брони на крейсера”. Как видим, этот важнейший вопрос обсуждался только в июне, хотя был поднят еще в апреле по настоянию главного корабельного инженера Петербургского порта Д. В. Скворцова.

Составленная в соответствии со спецификацией „Богатыря” ведомость заказа брони на крейсера отечественной постройки снова подвергалась существенной корректировке. Толщина броневых плит подачных труб башен уменьшалась с 75 до 73 мм с целью уменьшения перегрузки крейсера. Крепление этих плит вместо примененных на „Богатыре” накладок осуществлялось (по примеру башен строившихся броненосцев типа „Бородино”) при помощи сплошных по высоте трубы стоек, обеспечивавших „индивидуальное крепление каждой плиты и более надежное их соединение с палубами”. Для приближения к возможностям Обуховского и Ижорского заводов решено было верхние два яруса брони подачных труб разбить не на три, как на „Богатыре”, а на четыре плиты. Это облегчало изготовление плит — упрощало гибку: требовалось придать плите меньшую стрелку погиби.

Вместо двух слоев судостроительной стали толщиной по 17,5 мм, предусмотренных спецификацией „Богатыря” для задних и боковых стен каземата, Д. В. Скворцов еще в апреле предлагал принять равнопрочную конструкцию из 17-мм брони того же качества, что и палубная, поставив ее на стальную рубашку толщиной 10 мм. Теперь решили сделать еще лучше и для задних стен казематов приняли однослойную нецементированную крупповскую броню толщиной 25,4 мм. Такая броня, приближаясь по качеству к прежней гарвеевской, была на 15 % прочнее и давала экономию в весе, которую Д. В. Скворцов предлагал употребить на бронирование элеваторов.

  • Читать дальше
  • 1
  • ...
  • 25
  • 26
  • 27
  • 28
  • 29
  • 30
  • 31
  • 32
  • 33
  • 34
  • 35
  • ...

Ебукер (ebooker) – онлайн-библиотека на русском языке. Книги доступны онлайн, без утомительной регистрации. Огромный выбор и удобный дизайн, позволяющий читать без проблем. Добавляйте сайт в закладки! Все произведения загружаются пользователями: если считаете, что ваши авторские права нарушены – используйте форму обратной связи.

Полезные ссылки

  • Моя полка

Контакты

  • chitat.ebooker@gmail.com

Подпишитесь на рассылку: