Вход/Регистрация
От «Першинга» до «Паттона»
вернуться

Мальгинов В.

Шрифт:

На крыше башен танков М26, М45, М46 и М47 стоял 12,7-мм пулемет М2НВ, предназначенный для стрельбы по наземным и воздушным целям. Он не имел турели и крепился на стойках, количество которых у разных танков было неодинаковым. У М26 одна стойка находилась в задней части крыши, из-за чего стрелять назад из люка могли командир и заряжающий, а вперед стрельба была возможна только с крыши моторного отделения. Второе крепление имелось на кормовой стенке башни, и если башня была развернута на борт, то можно было стрелять с земли при больших углах возвышения. У танков М45 и М46, кроме вышеперечисленных, появилось дополнительное крепление над перископическим прицелом наводчика, и командир танка получил возможность стрелять вперед по ходу танка, высунувшись из своего люка. У танка М47 имелось всего одно крепление — между командирской башенкой и люком заряжающего.

Боезапас пулемета М2НВ составлял для танков М26, М45 и М46 550 патронов калибра 12,7 мм. В реальности американские танкисты в Корее, активно используя этот пулемет для обстрела мест, где могли прятаться гранатометчики, ухитрялись загружать гораздо больше патронов. Поэтому штатный боезапас танка М47 составлял уже 1700 патронов калибра 12,7 мм.

ДВИГАТЕЛЬ И ТРАНСМИССИЯ. На М26 и М45 устанавливался бензиновый двигатель водяного охлаждения «Форд» GAF, V-образный, 8-цилиндровый. Мощность — 500 л.с. Двигатель был соединен в единый блок с трансмиссией, обеспечивавшей две передачи вперед и одну назад.

М46

Емкость топливных баков танка составляла 675 л. Емкость маслосистемы 30 л, причем маслофильтр имел автоматическую очистку. Охлаждение двигателя обеспечивали два водяных радиатора. Емкость системы охлаждения 83 л. В систему охлаждения был включен предпусковой подогреватель.

Двигатель устанавливался в моторном отделении по центру. Справа и слева от него размещались топливные баки..Отбор мощности от двигателя осуществлялся спереди и сзади. Сзади двигатель подсоединялся к трансмиссии. Спереди происходил отбор мощности для вентиляторов системы охлаждения. Каждый радиатор обдувался двумя вентиляторами (один над другим), приводимыми во вращение от карданных валов с помощью ременной передачи. Такой же передачей приводился в действие и электрогенератор, установленный справа от двигателя.

На танках М46 и М47 устанавливался бензиновый двигатель марки «Континенталь» AV-1790-5B, V-образный, 12-цилиндровый, воздушного охлаждения, развивавший мощность 810 л.с. при 2800 об/мин. Двигатель соединялся с трансмиссией CD-850 (разных модификаций на М46 и М47), которая также имела две скорости вперед и одну назад. Впервые примененная на серийном среднем танке передача типа «кроссдрайв» значительно упростила управление. Водитель управлял движением танка, поворотами и торможением с помощью одного рычага.

Охлаждение двигателя обеспечивали два вентилятора, размещенных на самом двигателе. Отбор воздуха для обдува трансмиссии и маслорадиатора осуществлял дополнительный вентилятор, установленный слева от мотора в перегородке, разделяющей моторное и трансмиссионное отделения.

Топливные баки также располагались по бортам двигателя и имели общую емкость 875 л.

ХОДОВАЯ ЧАСТЬ у танков М26, М45, М46 и М47 состояла из шести сдвоенных обрезиненных штампованных опорных катков диаметром 660 мм на борт. Подвеска танка индивидуальная торсионная. Направляющее колесо взаимозаменяемо с опорными катками. Передние опорные катки механически связаны с направляющим колесом для избежания спадания гусениц. Из-за этого ходовая часть имела несколько интересных особенностей. Балансиры передних опорных катков были направлены вперед, а пяти остальных — назад. Из-за применения торсионной подвески катки правого борта отставали от катков левого борта, правда, только последние пять. Передние опорные катки из-за механической связи с направляющими катками располагались соосно. Это достигалось разной длиной их балансиров. Гидравлические амортизаторы имели 1, 2, 5-й и 6-й катки. Для ограничения хода первый каток (связанный с ленивцем) оснащался пружинным буфером, а остальные — ограничителями хода с резиновыми буферами.

Танки М26, М45 и М46 имели по пять обрезиненных поддерживающих катков на борт, а М47 — по три.

У М46 и М47 возросло расстояние между последним опорным катком и ведущим колесом. Поэтому там добавляли дополнительный каток на балансире с торсионной подвеской, аналогичный поддерживающему. Его назначение — поддерживать постоянство натяжения гусеницы и защищать ведущее колесо. На машинах, долго бывших в эксплуатации, этот каток и его подвеску обычно снимали.

Ведущие колеса — заднего расположения, цевочного зацепления,с 13 зубьями. У ранних М26 (Т26ЕЗ) они были другой формы, чем у более поздних машин, и не взаимозаменяемые с ними из-за применения гусеницы с траками Т81.

Первоначально на танк М26 (Т26ЕЗ) устанавливались гусеницы Т81 с литыми траками, металлическими грунтозацепами и резинометаллическим шарниром шириной 61 см. Однако вскоре их заменили на штампованную гусеницу шириной 58,5 см, как на танке М4A3Е8 с подвеской HVSS. Эта гусеница также имела металлические грунтозацепы и резинометаллический шарнир. И в том и в другом случае гусеница состояла из 83 траков.

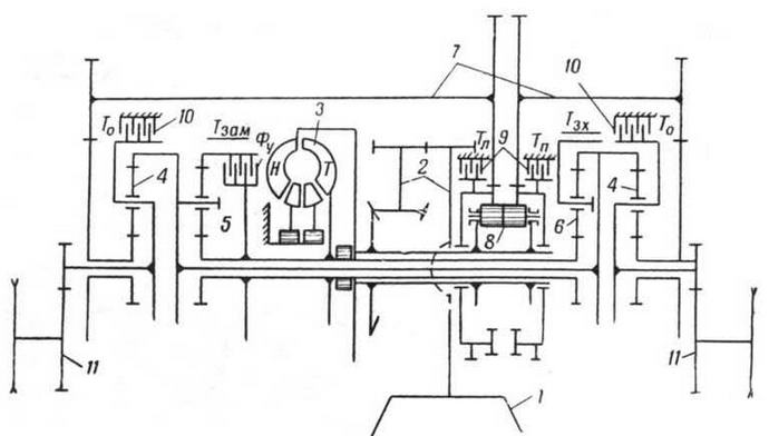
Принципиальная кинематическая схема гидромеханической транемиссии «кроссдрайв»:

1 — двигатель; 2 — первичный редуктор; 3 — комплексный гидротрансформатор; 4 — суммирующие планетарные ряды; 5 — планетарный ряд замедленной передачи; б — планетарный ряд заднего хода; 7 — дополнительные передачи; 8 — простой цилиндрический дифференциал; 9 — тормоза поворота; 10 — остановочные тормоза; И — бортовые передачи

Из-за увеличения длины у М46 и М47 гусеница состояла из 86 траков. На М46 обычно ставилась гусеница, набранная из траков Т80Е1, как и на М26 и М45. Однако к началу войны в Корее некоторые танки М26 и М46 получили новую гусеницу Т84Е1 с резиновыми асфальтоходными подушками и резиновыми грунтозацепами. А на М47 эта гусеница стала стандартной, хотя на этих танках использовалась и новая гусеница с металлическим грунтозацепом Т80Е6. Обе они по конструкции были аналогичны Т80Е1.

  • Читать дальше
  • 1
  • ...
  • 6
  • 7
  • 8
  • 9
  • 10
  • 11
  • 12
  • 13
  • 14
  • 15

Ебукер (ebooker) – онлайн-библиотека на русском языке. Книги доступны онлайн, без утомительной регистрации. Огромный выбор и удобный дизайн, позволяющий читать без проблем. Добавляйте сайт в закладки! Все произведения загружаются пользователями: если считаете, что ваши авторские права нарушены – используйте форму обратной связи.

Полезные ссылки

  • Моя полка

Контакты

  • chitat.ebooker@gmail.com

Подпишитесь на рассылку: