Вход/Регистрация
Устройство крыши
вернуться

Коршевер Наталья Гавриловна

Шрифт:

Долото

Внешне похоже на стамеску, но это совершенно другой инструмент. Долото предназначено для долбления древесины, и поэтому на ручке закрепляется металлический наконечник, который не позволяет растрескаться древесине от ударов молотка. Кроме того, чтобы не повредить рукоятку, а также для лучшего проникновения лезвия в массив древесины долото используется только в комплекте с деревянным молотком – киянкой.

Долото имеет более массивное полотно, чем стамеска. В зависимости от вида работ долота разделяются на столярные и плотничные.

Ширина рабочего полотна столярной стамески не превышает 15 мм, а полотно плотничного долота имеет ширину 20 мм. Полотно столярного долота, в отличие от плотничного, у основания не расширяется.

Долото предназначено для выдалбливания гнезд. Работают с долотом, соблюдая осторожность и аккуратность. Его устанавливают у намеченной риски фаской внутрь и ударяют по нему киянкой.

Инструменты для отгибки и сборки элементов кровли

Кровельные клещи

Кровельные клещи используют при сборке металлических листов, когда нужно загибать кромки листов (рис. 19).

Рис. 19. Кровельные клещи: а – прямые; б – кривые; в – полукруглые: 1 – губки; 2 – ручки; 3 – ось.

Клещи могут быть прямые, полукруглые и кривые. Первые имеют плоские широкие губки, благодаря которым не повреждается цинковый слой металла. Они нужны при устройстве дымовых труб, вентиляционных и слуховых отверстий.

Полукруглыми клещами выполняют многие операции, например окантовку гребней, отгибы различных видов, отделку фасонных элементов кровли, разборку желобов и покрытий для их ремонта.

Кривые клещи необходимы для сборки кровли на труднодоступных участках.

Кромкогибщик

Для загибания стоячих фальцев применяют кромкогибщик, имеющий в середине продольную прорезь высотой от 25 до 35 мм (рис. 20).

Рис. 20. Кромкогибщик.

Заклепочник

Инструментом пользуются при сращивании листовых металлических деталей (рис. 21).

Рис. 21. Заклепочник: 1 – корпус; 2 – цанговое устройство; 3 – ось; 4 – рычаг; 5 – заклепки комбинированные.

Зажимные приспособления

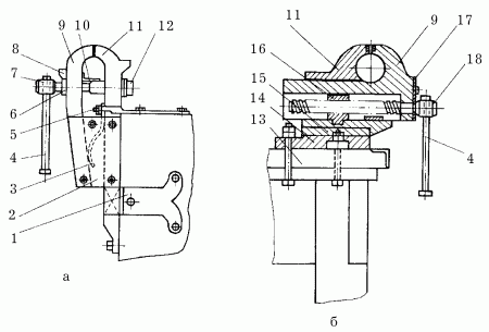
К зажимным приспособлениям относятся тиски, которые могут быть параллельными и стуловыми (рис. 22).

Рис. 22. Тиски: а – стуловые; б – параллельные: 1 – лапа для крепления тисков к верстаку; 2 – боковина; 3 – пружина; 4 – рычаг; 5 – планка для крепления тисков к верстаку; 6 – шайба; 7, 18 – стяжной и червячные винты; 8, 10 – козырьки; 9 – подвижная губка; 11 – неподвижная губка; 12 – втулка; 13 – верстак; 14 – нижняя плита; 15 – поворотный круг; 16 – гайка; 17 – крышка.

И параллельные, и стуловые тиски состоят из подвижной и неподвижной губок и рычагов для вращения винтов. Тиски закрепляют на верстаке.

Кроме тисков, в качестве зажимов используют ваймы, прессы, струбцины (рис. 23).

Рис. 23. Струбцины.

Инструменты для опиливания

Напильники

При опиливании (выборки верхнего слоя с поверхности детали) используют напильники различных видов. Каждый напильник имеет на своей рабочей поверхности насечки, благодаря которым он может снимать слой металла.

Напильники состоят из носа, тела, пятки и хвостовика. Они бывают различного сечения, например квадратного, прямоугольного, полукруглого, круглого, треугольного (рис. 24).

Рис. 24. Виды напильников: а – напильники; б – рашпиль.

Напильники с такими сечениями называют обыкновенными.

Напильники с квадратным сечением нужны для обработки поверхностей прямоугольной формы. Напильники с прямоугольным сечением универсальные, ими можно доводить практически любую поверхность, включая и фасонную. Напильники с полукруглым сечением предназначены для работы с вогнутыми поверхностями. Напильники с треугольным сечением – для доводки отверстий с треугольным сечением и углов, с круглым сечением – для круглых отверстий.

Есть еще и специальные напильники, сечение которых может быть ромбовидным, овальным или в виде меча.

Выпускаются напильники с одинарной и двойной насечкой. Напильником с одинарной насечкой выполнять опиливание сложнее, потому что он снимает слой металла в виде стружки, в то время как напильник с двойной насечкой измельчает стружку, превращая ее в опилки. Опиливать металлическую поверхность можно двумя способами: чистовым и черновым.

Опиливание первым способом проводится напильником длиной от 125 до 450 мм, опиливание вторым способом – драчевым напильником той же длины. Затем обрабатываемую поверхность доводят бархатным напильником длиной от 125 до 250 мм.

  • Читать дальше
  • 1
  • 2
  • 3
  • 4
  • 5
  • 6
  • 7
  • 8
  • 9
  • 10
  • 11
  • 12
  • ...

Ебукер (ebooker) – онлайн-библиотека на русском языке. Книги доступны онлайн, без утомительной регистрации. Огромный выбор и удобный дизайн, позволяющий читать без проблем. Добавляйте сайт в закладки! Все произведения загружаются пользователями: если считаете, что ваши авторские права нарушены – используйте форму обратной связи.

Полезные ссылки

  • Моя полка

Контакты

  • chitat.ebooker@gmail.com

Подпишитесь на рассылку: