Вход/Регистрация
Самодельная черепица
вернуться

Волков Валентин Александрович

Шрифт:

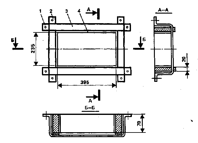
Рис. 3. Форма: 1, 2 — металлические полосы; 3 — стенка; 4 — металлическая окантовка

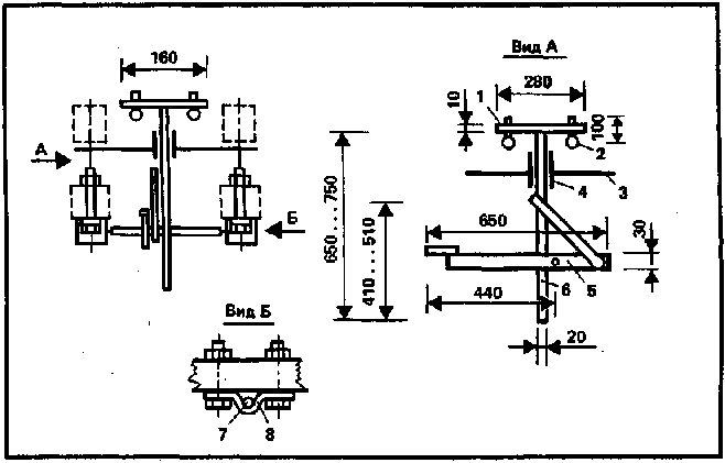
На рис. 2 показаны матрица и пуансон для черепицы с продольными ребрами. Когда же будут создаваться формующие детали для черепицы типа пазовой штампованной, то появятся и планки, которые нужно будет прибивать на основания матрицы и пуансона поперек удлиненных (но не на них!) с отступом от края на 10...20 мм (см. рис. 2). Ясно, что в этих случаях удлиненные планки укорачивают.

Грани на тыльных сторонах пуансона и матрицы следует несколько закруглить. Это сохранит и детали, и руки от повреждения. Такую же рекомендацию можно предложить и для направляющего щитка лишь с тем отличием, что здесь нужно закруглить грани по всем сторонам щитка. Для этого подойдут рашпили, напильники с грубой насечкой, пила и даже точило, когда закругление осуществляем поперек волокон доски или бруска. А для снятия угла грани вдоль волокон пригоден нож, рубанок и т.п.

Направляющий щиток составляют из досок (см. рис. 2), которые сбивают в два слоя, крест накрест. Сшитые таким образом доски с двух противоположных сторон образуют выступы в виде четвертей размером 22,5 мм. Пуансон и щиток соединяют между собой двумя самодельными петлями из полосовой стали. Можно использовать для этого и крупные дверные петли, которые, к сожалению, крепят лишь к краям пуансона и щитка, что приводит к расширению отверстий, в которые будут вкручены шурупы или винты с гайками. Дефект исправим, если к тыльной стороне пуансона и укороченной на две четверти стороне щитка присоединить шурупами металлические пластины толщиной 1...1,4 мм и лишь потом установить петлю или петли, которые позволят мгновенно отсоединить пуансон от матрицы. Чтобы это не произошло самопроизвольно, следует предусмотреть фиксацию.

К пуансону для удобства откидывания прикручивают рукоятку, а к щитку — опору для поднятого пуансона. Суженные на четверть стороны щитка вводят в направляющие станины (см. рис. 1), которые образованы брусами-ограничителями. Для беспрепятственного возвратно-поступательного движения щитка по направляющим станины его соприкасающиеся грани следует закруглить и смазать достаточно консистентной смазкой. При этом ясно, что и в брусьях-ограничителях сечением 80x65 мм также выбраны четверти, что четко видно на разрезе Г—Г (см. рис. 1), где показан и вдвинутый направляющий щиток. Крепить брусья-ограничители к продольным брусам станины предпочтительно самодельными шпильками или болтами М6, М8 или М10 с металлическими шайбами, обычными и пружинными, и гайками. Шайбы предупредят вгрызание и вдавливание головок болтов и гаек в дерево брусов и, кроме того, устранят самоотвинчивание гаек на длительный период. Этот тип соединения можно рекомендовать и для других узлов станка. Гвозди в деревянном станке допустимы только тогда, когда можно загнуть их ножку на плоскости, противоположной той, на которой находится шляпка, или когда шляпка гвоздя фиксируется от поднятия. С последним случаем встретимся, если планки пуансона и матрицы прибить гвоздями, после чего облицевать рабочую поверхность этих пуансона и матрицы металлическими листами.

Выталкивающий механизм монтируется под формой, в центре, между ножками станины, так, чтобы его пластина входила в форму не выше нижнего среза ее стенок. Принципиальная кинематическая схема крепления выталкивающего механизма к поперечным брусам станины, находящимся между ножками, показана на рис.4. Стойка совершает возвратно-поступательное движение благодаря тому, что в верхней части, под пластиной, проходит через втулку, имеющую наружную резьбу. Сама втулка продета сквозь середину металлического листа, к которому крепится четырьмя гайками. Сначала заворачиваем по гайке с каждой стороны листа, потом добавляем еще по одной. Вторая пара гаек не даст отвернуться первой паре. Успешнее это соединение осуществить сваркой, если таковая имеется. Металлический лист уже в сборе с втулкой крепится к верхним поперечным брусам станины. Причем втулку не обязательно вытачивать на токарном станке, вполне подойдет обрезок водогазопроводной трубы с подходящим внутренним диаметром к наружному диаметру стойки. Во втулку стойка должна проходить свободно, но не болтаться в ней. Зазора в 1...1,6 мм достаточно, учитывая смазку контактирующих поверхностей.

Рис. 4. Выталкивающий механизм: 1 — пластина; 2 — палец; 3 — металлический лист; 4 — втулка; 5 — рычаг; 6 — стойка; 7 — ось; 8 — скоба

Рычаг поворачивают вокруг оси (см. рис. 4), которая фиксируется на нижних поперечных брусьях двумя скобами. А чтобы ось не выдвигалась самопроизвольно из скоб, по концам ее ставят шайбы со шплинтами, для которых в оси сверлят два отверстия. Можно обойтись и без металлических шайб, если по концам оси проточкой создать заплечики. Последние будут опираться в торцы скоб. В любом случае скобы предпочтительно гнуть из стальной полосы толщиной не менее 2...3 мм.

Пооперационная работа станка начинается с отведения пуансона и укладки его на опору (см. рис. 1). Затем на пластину выталкивающего механизма, заменяющего дно формы, укладывают матрицу тыльной стороной. Рисунок матрицы смазывают жирным составом, который не допустит сцепления массы в процессе подсыхания с поверхностью рисунка. В прошлом таким составом была нефть. На производство 1000 шт. черепицы тратили 6...8 кг. Важно иметь такой состав смазки, который отталкивал бы воду, содержащуюся в формующейся массе.

Затем в форму закладывают заранее приготовленную массу. Опыт покажет, сколько приблизительно ее следует опустить в форму, чтобы осталось место для опускаемого с силой пуансона. И тут не следует забывать, что хоть и есть у пуансона направляющий щиток, но и сам пуансон верно встанет в форме только тогда, когда углубится в нее на высоту рисунка.

За рукоятку на пуансоне протягиваем его до переднего конца формы. Это протягивание допустимо, когда на черепице нет поперечных ребер и впадин и когда пуансон короче формы. Причем обычно возвратно-поступательное протягивание повторяют два-три раза и, убедившись в четкости рисунка, возвращают пуансон на опору. В случае производства черепицы с поперечными и продольными ребрами и впадинами можно оказывать лишь вертикальное давление на пуансон, длина которого должна совпадать с длиной формы. Вот когда существенна правильная доза массы в форме. Пуансон еще называют кареткой-матрицей именно за способность не только выжимать рисунок, но и как бы простругивать его при возможности возвратно-поступательного движения. Этим перемещением, кстати, пользуются для железнения лицевой поверхности черепицы.

Это железнение заключается в том, что лицевую поверхность отформованной черепицы после поднятия пуансона посыпают сухим цементом или смесью цемента с охрой, мумие или другими щелочестойкими пигментами. Здесь же в форме «сдобренную» поверхность обрызгивают водой. Потом опускают пуансон и возвратно-поступательным его движением заглаживают порошкообразное покрытие. Нажатием на рычаг приводится в движение выталкивающий механизм. Его пластина на пальцах приподнимает и извлекает из формы матрицу с отформованной черепицей. В таком виде черепицу (ОБЯЗАТЕЛЬНО С МАТРИЦЕЙ!) относят на стеллаж для сушки в закрытое и без сквозняков помещение. Здесь черепицу периодически (3—4 раза в день) поливают чистой водой. Понятно, что если черепица еще не застыла и мягкая, то размывать ее водой не следует. Чтобы уменьшить количество поливок, черепицу иногда посыпают, например, влажными опилками.

  • Читать дальше
  • 1
  • 2
  • 3
  • 4
  • 5
  • 6
  • 7
  • 8

Ебукер (ebooker) – онлайн-библиотека на русском языке. Книги доступны онлайн, без утомительной регистрации. Огромный выбор и удобный дизайн, позволяющий читать без проблем. Добавляйте сайт в закладки! Все произведения загружаются пользователями: если считаете, что ваши авторские права нарушены – используйте форму обратной связи.

Полезные ссылки

  • Моя полка

Контакты

  • chitat.ebooker@gmail.com

Подпишитесь на рассылку: