Вход/Регистрация
Устройство крыши
вернуться

Коршевер Наталья Гавриловна

Шрифт:

Рис. 35. Висячие стропила: 1 – мауэрлат; 2 – стропильная нога; 3 – затяжка; 4 – бабка; 5 – подкос.

В отличие от наслонных они передают на мауэрлат только вертикальное давление. Висячие стропила используются в том случае, когда пролет крыши составляет 7–12 м и нет дополнительных опор. Висячие стропила обычно устраивают в зданиях с легкими стенами, а также в зданиях, где отсутствуют внутренние несущие стены.

Основными элементами висячих стропил являются стропильные ноги и затяжки нижнего пояса.

В случае выбора конструкции крыши с висячими стропилами все элементы связываются жестко, так как представляют единую конструкцию – стропильную ферму, опирающуюся на две крайние опоры. Стропильные ноги из-за отсутствия средней опоры упираются друг в друга в коньке. Следствием этого является создаваемое значительное горизонтальное давление, называемое распором. Если крыша сооружается неправильно, то стены могут даже опрокинуться. Задачу по гашению горизонтального давления выполняет нижний пояс стропильной фермы – затяжка.

Выбор конструкции крыши зависит от конкретных условий. На рисунке 36 показаны различные стропильные конструкции в зависимости от размера перекрываемых пролетов.

Рис. 36. Различные конструкции стропильных перекрытий: а – при пролете до 5 м; б, д – до 8 м; в, е – до 10 м; г – до 6 м; 1 – стропильная нога; 2 – мауэрлат; 3 – коньковый прогон; 4 – лежень; 5 – стойка; 6 – перекрытие; 7 – затяжка; 8 – ригель; 9 – бабка.

Наслонные стропила просты по устройству и не требуют использования подъемных механизмов при монтаже. Фермы с висячими стропилами можно собрать на земле, но тогда появляется проблема подъема их на сооружаемое строение. Хотя можно смонтировать фермы сразу на доме, применяя дощатый настил и вспомогательные раскосы, расшивки из досок.

В деревянных брусчатых или же рубленых зданиях стропильные ноги опираются на верхние венцы (рис. 37), в каркасных – на верхнюю обвязку (рис. 38).

Рис. 37. Опирание наслонных стропил в деревянных брусчатых или рубленых зданиях: 1 – шип; 2 – стропильная нога.

Рис. 38. Опирание наслонных стропил в деревянных каркасных зданиях: 1 – балка перекрытия; 2 – стропильная нога.

В каменных домах в качестве опоры для стропильных ног используется мауэрлат – брусья толщиной 140–160 мм (рис. 39).

Рис. 39. Опирание наслонных стропил в каменных зданиях: 1 —мауэрлат; 2 – стропильная нога; 3 – затяжка; 4 – чердачное перекрытие.

Мауэрлат может располагаться по всей длине здания или подкладываться только под стропильную ногу.

В том случае, если стропильные ноги в сечении имеют небольшую ширину, они могут со временем провиснуть. Чтобы избежать этого, необходимо применять специальную решетку, состоящую из стойки, подкосов и ригеля.

Для изготовления стоек и подкосов используют доски шириной 150 мм и толщиной 25 мм или деревянные пластины, получаемые из бревна, диаметр которого должен быть не менее 130 мм.

Для закрепления стропильной ноги применяется затяжка. При скольжении по затяжке стропильный конец может нарушить ее целостность. Чтобы предотвратить скольжение, врубать стропильную ногу в затяжку рекомендуется зубом, шипом или тем и другим одновременно (рис. 40).

Рис. 40. Соединение стропил зубом и шипом: 1 – стропильная нога; 2 – затяжка; 3 – шип.

Кроме этого, стропила желательно устанавливать на расстоянии примерно 300–400 мм от края. В процессе врубания ноги в конец затяжки требуется максимально отодвинуть зуб.

В том случае, если требуется усиленное крепление стропила, целесообразно использовать двойной зуб (рис. 41).

Рис. 41. Соединение стропил двойным зубом: 1 – стропильная нога; 2 – затяжка.

Чаще всего применяют зубы разной величины: высота одного зуба составляет 0,2 толщины затяжки, а высота другого – 0,3. Предварительно на затяжке необходимо сделать упор и шип, а на стропиле – проушину (для первого зуба). Для второго зуба достаточно одного упора.

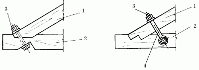
В целях дополнительного крепления стропил в затяжках используются хомуты и болты (рис. 42).

Рис. 42. Соединение стропил болтом и хомутом: 1 – стропильная нога; 2 – затяжка; 3 – болт; 4 – хомут.

Болты применяются реже, так как ослабляют сечение стропильных ног и затяжек.

Завершается монтаж сооружением конька каркаса крыши (рис. 43), обшивкой карнизов (свободной части стропил, выступающей за уровень стены – обычно на 40–50 см), возведением фронтонных стенок и креплением обрешетки из досок или брусков.

  • Читать дальше
  • 1
  • ...
  • 14
  • 15
  • 16
  • 17
  • 18
  • 19
  • 20
  • 21
  • 22
  • 23
  • 24
  • ...

Ебукер (ebooker) – онлайн-библиотека на русском языке. Книги доступны онлайн, без утомительной регистрации. Огромный выбор и удобный дизайн, позволяющий читать без проблем. Добавляйте сайт в закладки! Все произведения загружаются пользователями: если считаете, что ваши авторские права нарушены – используйте форму обратной связи.

Полезные ссылки

  • Моя полка

Контакты

  • chitat.ebooker@gmail.com

Подпишитесь на рассылку: