Вход/Регистрация
Устройство крыши
вернуться

Коршевер Наталья Гавриловна

Шрифт:

Рис. 58. Заготовка воротника дымовой трубы: а – общий вид дымовой трубы; б – детали воротника, подготовленные к укладке; Ду – длина дымовой трубы по уклону; Ш – ширина дымовой трубы; У – угол между стенкой трубы и скатом крыши (размеры даны в мм).

Половины воротника соединяют одинарными фальцами и пропаивают третником.

Вместо фальцевых соединений можно сделать отгибы, направленные по стоку воды, которые сначала заклепывают (2–3 заклепки диаметром 2–3 мм), а затем запаивают.

Слуховое окно в зависимости от его размера покрывают одной или двумя картинами. Перед изготовлением картин необходимо провести замеры обрешетки, чтобы установить диаметр основания окна, длину полуконуса по уклону, длину полуконуса по коньку.

По полученным размерам составляют чертеж окна (вид спереди и сбоку), по которому с учетом припусков на свес и фальцы раскраивается кровельный лист и заготавливаются две картины.

Воротник слухового окна состоит из трех фартуков: двух боковых и одного переднего (рис. 59).

Рис. 59. Воротник слухового окна: а – общий вид окна; б – передний фартук; в – боковой фартук; А – ширина фартука; Б – ширина нижней оконной обвязки; Д – длина боковой стенки окна по скату; Е – ширина воротника; Ш – ширина окна; У – угол между передней стенкой окна и скатом крыши; У1 – угол между скатом слухового окна и скатом крыши.

Заготавливают их по заданным размерам на верстаке с использованием бруса-оправки и киянки.

На переднем фартуке сначала отгибают короткие боковые отвороты, а затем длинный, расположенный между ними. На боковом фартуке сначала отгибают долевую кромку, а затем край, укладываемый на обрешетку. Короткую узкую кромку сваливают на плоскость, а длинную отгибают под прямым углом.

Слуховые окна покрывают тем же материалом, что и всю кровлю. Особое внимание необходимо уделять разделке мест их соединения со скатом крыши.

Колпак, защищающий оголовок дымовой или вентиляционной трубы, состоит из четырех боковин и крышки (рис. 60).

Рис. 60. Колпак для дымовой или вентиляционной трубы.

Заготовки по шаблонам вырезают из листовой стали. В боковинах отгибают капельники, верхние прямоугольные ободки и кромки для фальцевого соединения, а в крышке прорезают отверстие по размеру дымохода и отгибают внутренние бортики. После этого крышку соединяют с боковинами угловыми фальцами.

Зонты защищают дымовые каналы от попадания в них атмосферной влаги. В зависимости от формы зонты бывают конические или пирамидальные.

Для изготовления конических зонтов используют кровельную сталь толщиной 1–1,5 мм, а для пирамидальных – в 2 раза тоньше.

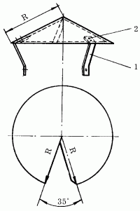
Для выполнения развертки конического зонта (рис. 61) необходимо начертить окружность нужного диаметра, провести из ее центра два радиуса так, чтобы угол между ними составил 35°, сделать припуск на нахлестку и вырезать заготовку.

Рис. 61. Заготовка для конического зонта: 1 – стойка; 2 – заклепка.

Затем края заготовки соединяют и закрепляют 3–4 заклепками, с наружной стороны к зонту также заклепками прикрепляют 3 стойки.

Для выполнения развертки пирамидального зонта (рис. 62) чертят квадрат заданного размера, противоположные углы соединяют диагоналями, образуя 4 треугольника. Одну из сторон треугольника разрезают, по линии разреза заготовку раздвигают на угол 25°, делают припуски на подгиб и на фальцевое соединение.

Рис. 62. Заготовка для пирамидального зонта.

Готовую заготовку слегка прогибают по сторонам треугольников и соединяют замыкающим фальцем. К внешней стороне зонта крепят 4 стойки.

Кровля из стальных листов

Преимуществами кровли, сделанной из стальных оцинкованных листов, являются легкость, возможность покрыть крышу любой, даже достаточно сложной конфигурации, высокая степень сопротивляемости механическим воздействиям, долговечность. Срок службы такой кровли без капитального ремонта – 18–25 лет.

К недостаткам кровли можно отнести малую огнестойкость и высокую стоимость ее эксплуатации, вызванную главным образом необходимостью ее периодической окраски. Так, первый раз после установки кровлю из оцинкованной стали необходимо покрасить через 8–10 лет, а последующие покраски проводить каждые 2–3 года. Кровлю из черной стали красят каждые 2–3 года. Уклон кровли составляет 18–30°.

Обрешетку под стальную кровлю делают из брусков сечением 50 х 50 мм, ширина шага которых не превышает 200 мм.

  • Читать дальше
  • 1
  • ...
  • 21
  • 22
  • 23
  • 24
  • 25
  • 26
  • 27
  • 28
  • 29
  • 30
  • 31
  • ...

Ебукер (ebooker) – онлайн-библиотека на русском языке. Книги доступны онлайн, без утомительной регистрации. Огромный выбор и удобный дизайн, позволяющий читать без проблем. Добавляйте сайт в закладки! Все произведения загружаются пользователями: если считаете, что ваши авторские права нарушены – используйте форму обратной связи.

Полезные ссылки

  • Моя полка

Контакты

  • chitat.ebooker@gmail.com

Подпишитесь на рассылку: