Вход/Регистрация
Устройство крыши
вернуться

Коршевер Наталья Гавриловна

Шрифт:

Кровельные работы начинают с карнизного ряда, правильность установки которого контролируют шнуром-причалкой. Кладут листы снизу вверх горизонтальными рядами. Соседние листы соединяют внахлестку на целую волну или на ее половину. Листы второго ряда напускают на листы первого ряда на 100–150 мм (величина напуска зависит от того, какой у крыши уклон: чем он больше, тем напуск меньше).

Для удобства работ перед их началом вдоль карнизной доски крепят противоветровые скобы по две на каждый лист, так, чтобы своими отогнутыми концами они крепко удерживали асбестоцементный лист за гребни волны. После того как будет уложен первый ряд, по нему мелом или карандашом намечают линию нахлестки и укладывают второй ряд.

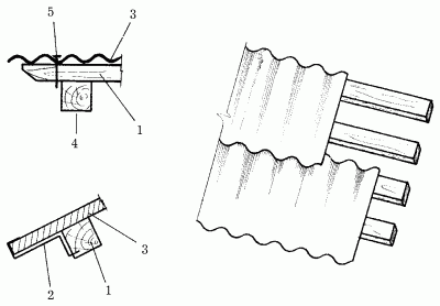
Асбестоцемент крепят к основанию оцинкованными гвоздями длиной 70–90 мм или шурупами, под шляпки которых подкладывают шайбы из оцинкованной стали, резины, либо прокладки, сделанные из двух слоев рубероида (рис. 68).

Рис. 68. Крепление асбоцементных волнистых листов: 1 – бруски; 2 – скоба; 3 – лист; 4 – свес фронтона; 5 – гвоздь.

Гвозди в обрешетку следует забивать сверху через асбестоцементный лист, в противном случае на последнем могут образоваться трещины и сколы.

После окончания кровельных работ шляпки гвоздей, а также все имеющиеся подозрительные трещины покрывают суриковой замазкой.

Укладывать асбестоцементные листы можно двумя способами: вразбежку, смещая их в сторону в каждом вышележащем ряду, или строго один над другим.

Более надежным и простым является первый способ, так как при укладывании листов друг над другом без смещения один лист по краям перекрывается четырьмя соседними, в результате чего образуются щели, через которые может проникать влага. Чтобы избежать этого, предварительно углы листов необходимо обрезать.

Последний этап – покрытие конька, к которому прибивают специальный, с закругленной верхней гранью, коньковый брусок, имеющий сечение 100 х 60 мм. Затем брусок закрывают полосами рулонного материала и укладывают на него готовые асбестоцементные детали КПО-1 и КПО-2. Первую деталь кладут широким раструбом в сторону фронтона. Для гвоздей делают отверстие (два на плоском отвороте, два на оси выпуклой части). Отверстия на плоском отвороте делают так, чтобы они проходили через гребни волн асбестоцементных листов.

Вместо готовых деталей для конька можно использовать две сбитые под углом доски, установленные поверх асбестоцементных листов и прибитые к ним гвоздями.

Следует обратить внимание на то, что подшивать карнизы и крепить фронтонные доски удобнее до начала кровельных работ. Так, оголенная обрешетка будет выполнять роль лестницы, а работы можно вести как снизу, так и сверху.

Устройство кровли из асбофанеры

Кровля из асбофанеры имеет ряд достоинств: долгий срок эксплуатации, пожаробезопасность и легкость сборки. Однако при этом существует один недостаток: данный материал достаточно хрупкий и требует бережного обращения при монтаже.

Обрешетку под кровлю из асбофанеры делают из деревянных брусков, сечение которых составляет 0,5 х 0,5 см.

Покрытие кровли асбофанерой начинают вести с карниза. После завершения первого ряда кладут второй, при этом один лист нужно накладывать на другой так, чтобы ширина нахлеста была равна 10–14 см. Данная величина зависит от угла уклона кровли: чем он круче, тем меньше напуск.

Горизонтальные ряды покрытия составляют также из листов, уложенных внахлест. При этом один лист должен заходить на другой на величину, равную ширине или 0,5 ширины волны.

Приготовленные и разложенные листы асбофанеры крепят к обрешетке, используя предназначенные для этого шиферные гвозди.

Под них подкладывают две шайбы (верхнюю изготавливают из кровельного железа, а нижнюю – из толя или рубероида) и забивают молотком. По окончании работ шляпки гвоздей для предотвращения коррозии покрывают олифой или суриковой замазкой.

Конек и ребра необходимо отделать специальными материалами (сначала обернуть рубероидом, а затем обить деталями КПО-1 и КПО-2) или заранее заготовленными деревянными брусками

Черепичная кровля

Черепичная кровля предназначена не только для покрытия и защиты кровли от внешних воздействий, но и служит в качестве декоративного украшения, которое зачастую до неузнаваемости преображает небольшой дачный коттедж, делая его похожим на домик сказочной феи. Кроме того, черепичная кровля обладает рядом достоинств. Среди них можно выделить пожаробезопасность, большой срок службы, легкость монтажа.

Черепица обладает большой массой, и потому конструкция обрешетки должна весить несколько больше, чем обрешетка, например, под асбофанеру или асбестоцемент. Уклон кровли должен составлять не менее 40–45°.

  • Читать дальше
  • 1
  • ...
  • 24
  • 25
  • 26
  • 27
  • 28
  • 29
  • 30
  • 31
  • 32
  • 33
  • 34
  • ...

Ебукер (ebooker) – онлайн-библиотека на русском языке. Книги доступны онлайн, без утомительной регистрации. Огромный выбор и удобный дизайн, позволяющий читать без проблем. Добавляйте сайт в закладки! Все произведения загружаются пользователями: если считаете, что ваши авторские права нарушены – используйте форму обратной связи.

Полезные ссылки

  • Моя полка

Контакты

  • chitat.ebooker@gmail.com

Подпишитесь на рассылку: