Вход/Регистрация
Электрика в доме
вернуться

Коршевер Наталья Гавриловна

Шрифт:

Во избежание попадания внутрь трубостойки атмосферных осадков ее верхний конец загибают вниз на 180°. На изогнутый конец перпендикулярно приваривают траверсу (стальной уголок длиной 50 см, сечением 45 х 45 мм, толщиной 5 мм), на которую приваривают два вертикальных штыря для установки вводных изоляторов.

При осуществлении ввода электролинии в здание на металлической трубостойке необходимо выполнить зануление (соединить трубу с нулевой жилой), для чего к трубостойке приваривают металлический болт, расположив его вблизи от изоляторов ввода.

Смонтированная трубостойка будет постоянно испытывать нагрузку от натяжения проводов ответвления. Для компенсации этой нагрузки применяют оттяжки из круглой стали диаметром 5 мм; закрепляют оттяжку в кольцах или на болтах, специально приваренных на трубостойке ближе к верхнему изгибу.

При монтаже в трубостойку закладывают стальную проволоку или трос диаметром 3–4 мм для протяжки с их помощью проводов внутрь трубостойки. Для того чтобы облегчить протягивание, провода протирают тряпкой, а трубостойку продувают сухим тальком. Концы трубы после протяжки проводов заливают чаттертоном (битумом) или набивают в трубу портландцементную влагостойкую замазку.

На стену трубостойку монтируют с помощью скоб и шурупов (в бетонных или кирпичных стенах для шурупов специально устраивают гнезда, как для крюков под изоляторы). На крышу трубостойка устанавливается с помощью растяжек из стальной проволоки.

Все болтовые соединения трубостоек, особенно крепежные, должны выполняться с применением стопорящих приспособлений (пружинящие шайбы, контргайки, проволока); эта необходимая предосторожность не будет лишней, потому что установленная на крыше или на стене трубостойка будет подвергаться постоянному воздействию порывов ветра и раскачиваться, вследствие чего может произойти самоотвинчивание гаек. Кроме того, все болтовые соединения (после окончательного монтажа ввода) нужно обильно смазать техническим вазелином или другой смазкой для защиты от коррозии.

Более удобен способ ввода трубостойкой через стену (рис. 46).

Рис. 46. Ввод трубостойкой через стену: 1 – крыша; 2 – оттяжка; 3 – изоляторы; 4 – трубостойка; 5 – болт; 6 – кронштейн.

Проход проводов через стену в данном случае устраивается не в изоляционной трубке с фарфоровой воронкой, а в трубе трубостойки, для чего ее нижний конец изгибают таким образом, чтобы он располагался в стене с уклоном 5° в наружную сторону; с внутренней стороны на конец трубы надевается фарфоровая втулка. Из-за перепада температур на внутренних стенках трубостойки может скапливаться конденсационная влага, для ее удаления в нижней точке изгиба трубы просверливают отверстие диаметром 5 мм.

Если высота здания, в которое осуществляется ввод электролинии, недостаточна для ввода трубостойкой через стену (расстояние от поверхности земли до нижней точки трубостойки менее 2 м), то применяют ввод трубостойкой через крышу (рис. 47).

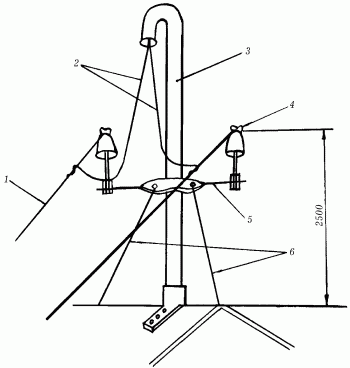
Рис. 47. Ввод провода ВЛ в здание трубостойкой через крышу: 1 – провод ВЛ; 2 – провода ввода в здание; 3 – труба стальная; 4 – изоляторы концевые; 5 – траверса; 6 – растяжки.

Неудобство этого способа заключается как в сложности монтажа самой трубостойки, так и в необходимости качественного монтажа прохода через кровлю (для обеспечения безопасности и надежной гидроизоляции).

В данном случае трубостойка крепится к поверхности крыши растяжками (стальная проволока диаметром 5 мм), устанавливаемыми с четырех сторон трубостойки.

Закрепление растяжек на трубостойке и кровле аналогично ранее описанному закреплению оттяжек – с помощью колец или болтовых соединений. При этом следует учитывать, что сила натяжения каждой из растяжек должна быть одинаковой: только так можно добиться вертикального положения трубостойки и ее противостояния погодным явлениям (ветру).

Наличие растяжек вовсе не означает отказа от установки оттяжек, ибо эти два элемента выполняют различные функции: растяжка удерживает трубостойку, а оттяжка компенсирует силу натяжения проводов ответвления.

Проход проводников ввода через кровлю и перекрытие осуществляется в трубе той же трубостойки, на которую уже с внутренней стороны помещения надевают фарфоровую втулку. Зазоры между трубой и кровлей тщательно заделывают любой гидроизоляционной мастикой (например, на битумной основе).

На рис. 48 показан ввод проводов из здания в гараж через крышу.

Рис. 48. Прокладка проводов из здания в гараж: 1 – провода ответвления; 2 – провод ввода в помещение; 3 – изолятор фарфоровый; 4 – трубостойка; 5 – кольцо опорное, приваренное к трубостойке; 6 – «копыто», свободно надетое на трубостойку; 7 – скобы металлические; 8 – растяжка; 9 – струбцина; 10 – болт-шпилька; 11 – гараж; 12 – электросветильник типа ПСХ-60; 13 – выключатель полугерметический.

Основные правила ввода электропроводов в здание

Вводы электропроводов в здание через стены следует выполнять в изоляционных трубах через фарфоровые воронки таким образом, чтобы вода не могла скапливаться и проникать внутрь помещения. Расстояние от проводов при наибольшей стреле провеса до земли и проезжей части улиц, которое должно быть не менее 6 м, можно уменьшить до 3,5 м при пересечении ВЛ непроезжей части улицы, пешеходных дорожек, тротуаров, в труднодоступной местности, а в недоступной местности (склоны гор, скалы, утесы) – до 1 м. Расстояние по горизонтали между проводами ВЛ и проводами линии связи и радио, телевизионными кабелями и спусками от радиоантенн на вводах должно составлять не менее 1,5 м. Провода ВЛ в пролетe от опоры до ввода и провода ввода ВЛ в здание не должны пересекаться с проводами ответвлений от линий связи и радио к вводам и должны располагаться не ниже проводов линий связи и радио. Расстояние между проводами у изоляторов ввода, а также от проводов до выступающих частей зданий не должно быть менее 0,2 м.

  • Читать дальше
  • 1
  • ...
  • 24
  • 25
  • 26
  • 27
  • 28
  • 29
  • 30
  • 31
  • 32
  • 33
  • 34
  • ...

Ебукер (ebooker) – онлайн-библиотека на русском языке. Книги доступны онлайн, без утомительной регистрации. Огромный выбор и удобный дизайн, позволяющий читать без проблем. Добавляйте сайт в закладки! Все произведения загружаются пользователями: если считаете, что ваши авторские права нарушены – используйте форму обратной связи.

Полезные ссылки

  • Моя полка

Контакты

  • chitat.ebooker@gmail.com

Подпишитесь на рассылку: