Вход/Регистрация
Электрика в доме
вернуться

Коршевер Наталья Гавриловна

Шрифт:

– 3 штепсельные розетки на 6 А для подключения холодильника, надплитного фильтра, динамика трехпрограммного радиовещания и бытовых электроприемников мощностью до 1,3 кВт;

– 1 штепсельную розетку с заземляющим контактом на 10 А для подключения бытового прибора мощностью до 2,2 кВт, требующего зануления;

– 1 штепсельную розетку с заземляющим контактом до 25 А для подключения электрической плиты мощностью 5,8 кВт или бытового прибора мощностью до 4 кВт, требующего зануления.

В кухнях площадью более 8 м2 следует предусматривать 4 штепсельные розетки на 6 А.

В ванных, душевых, туалетах корпусы светильников и патроны должны быть из изолирующего материала. При установке светильников с лампами накаливания на высоте 2,5 м и менее рекомендуется применять светильники с заглубленными патронами с высокими изолирующими кольцами или светильники с другими конструктивными решениями, повышающими безопасность обслуживания.

Высота установки светильников с люминесцентными лампами при влагозащищенном использовании (при условии недоступности к токоведущим частям) не регламентируется.

Допускается применение светильников-блоков с люминесцентными лампами мощностью до 40 Вт без рассеивателей. Высота установки указанных светильников от пола должна составлять не менее 2,2 м до корпуса светильника.

В индивидуальных домах следует устанавливать штепсельные розетки на 6 А из расчета:

– в жилых комнатах – 1 розетка на каждые полные и неполные 10 м2 жилой площади;

– в кухнях – 2 розетки независимо от площади.

В квартирах жилых домов следует предусматривать три однофазные групповые линии: две – для питания общего освещения и штепсельных розеток на 6 и 10 А; третью групповую линию – для подключения бытовых электроприборов мощностью до 4 кВт и электрических плит.

Не допускается объединение нулевых проводников рабочего освещения с нулевыми проводниками эвакуационного и аварийного освещения, а также нулевых проводников осветительных и силовых сетей.

Устройство трехфазных четырехпроводных вводов в квартиры допускается при соответствующем технико-экономическом обосновании.

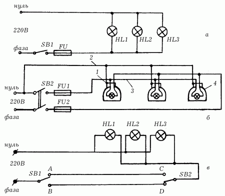
На рис. 53 показаны схемы включения светильников в сеть и схема управления светильниками с двух мест.

Рис. 53. Электрические схемы включения светильников в сеть: а – двухпроводная однофазная линия; б – двухпроводная однофазная линия с третьим проводом для зануления металлических корпусов светильников; в – схема управления светильниками с двух мест: SB1, SB2 – выключатели двухполюсные; FU1, FU2– предохранители плавкие; HL1–HL3 – светильники; 1 – место зануления корпуса светильника; 2 – защитный нулевой провод; 3 – рабочий нулевой провод; 4 – металлический корпус светильника.

В сетях с глухозаземленной нейтралью напряжением 380/220 В для питания сетей освещения применяют однофазные и трехфазные групповые линии. Для зануления металлических корпусов светильников, как показано на рис. 53, б, используют нулевой защитный провод, идущий от осветительного шитка без разрыва цепи отключающими аппаратами, а в цепях фазного и нулевого рабочего проводов устанавливаются аппараты защиты от коротких замыканий. Для одновременного отключения фазного и нулевого рабочего проводов используют двухполюсный выключатель.

Если помещение имеет значительную протяженность (например, складские помещения, имеющие два выхода), удобно использовать электрическую схему включения светильников из двух противоположных мест (рис. 53, в). Схема работает следующим образом. При входе в помещение с одного конца выключатель SBI поворачивается в положение «А» (выключатель SB2 должен быть включен в положение «С»). При этом происходит включение светильников в сеть. При выходе из помещения с другого его конца, если повернуть выключатель SB2 в положение «D», светильники отключаются от сети.

На рис. 54 показана схема электропроводки, выполненная в однокомнатном садовом доме, а на рис. 55 – в двухкомнатном.

Рис. 54. Схема электропроводки, выполненной в однокомнатном садовом доме (вид в плане): 1 – терраса площадью 8,35 м2; 2 – розетка штепсельная; 3 – комната площадью 12 м2; 4 – выключатель однополюсный; 5 – щиток вводный со счетчиком; 6 – кухня.

Рис. 55. Схема электропроводки в двухкомнатном садовом доме (вид в плане): 1 – комната площадью 6,77 м2; 2 – комната площадью 11,3 м2; 3 – кладовая; 4 – кухня; 5 – терраса площадью 7,84 м2.

Цифры у светильников обозначают минимально необходимую мощность электрических ламп накаливания. На стенке около кладовой и в прихожей устанавливаются настенные патроны с электрической лампой мощностью 25 Вт. На кухне, веранде и в комнатах предусматриваются штепсельные розетки.

На ответвлении от питающей воздушной линии (до ввода проводов в счетчик) устанавливаются аппараты защиты (автоматический выключатель или два плавких предохранителя – на фазном и нулевом проводах). Ввод осуществляется от ВЛ с торцевой стороны дома кабелем марки АНРГ сечением 2 x 4 мм2. Групповая сеть внутри дома выполняется проводом марки АППР сечением 2 х 2,5 мм2 открыто. Общая длина внутренней электропроводки для однокомнатного дома составляет 27 м, а для двухкомнатного – 35 м. Оптимальная мощность для садового дома составляет 1 кВт. На рис. 56 показана электропроводка в приусадебных хозпостройках (вид в плане).

  • Читать дальше
  • 1
  • ...
  • 28
  • 29
  • 30
  • 31
  • 32
  • 33
  • 34
  • 35
  • 36
  • 37
  • 38
  • ...

Ебукер (ebooker) – онлайн-библиотека на русском языке. Книги доступны онлайн, без утомительной регистрации. Огромный выбор и удобный дизайн, позволяющий читать без проблем. Добавляйте сайт в закладки! Все произведения загружаются пользователями: если считаете, что ваши авторские права нарушены – используйте форму обратной связи.

Полезные ссылки

  • Моя полка

Контакты

  • chitat.ebooker@gmail.com

Подпишитесь на рассылку: