Вход/Регистрация
Электрика в доме
вернуться

Коршевер Наталья Гавриловна

Шрифт:

Если мощность ПРА не соответствует мощности самой лампы, она попросту не зажжется.

Дроссель можно заменить лампой накаливания, которая будет выполнять функцию балласта в ограничении тока.

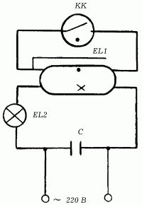
А чтобы люминесцентная лампа в этом случае зажигалась более надежно, на ее поверхности располагают широкую металлическую полосу из фольги и присоединяют к одному из выводов электродов или заземляют (рис. 66).

Рис. 66. Схема включения люминесцентной лампы при отсутствии дросселя: EL1 – люминесцентная лампа; KK – стартер; C – конденсатор; EL2 – лампа накаливания.

Можно обойтись и без фольги, если один из монтажных токоведущих проводов проложить вдоль самой лампы и закрепить его на концах стеклянной трубки проволокой.

Стартер играет роль выключателя нитей накаливания после того, как между электродами возникнет разряд. В маркировке стартеров перед буквой С (стартер) указывают мощность лампы, для которой предназначен стартер, а после нее – его номинальное напряжение (127 или 220 В), например: 2 °C-127 – стартер для люминесцентных ламп предельной мощностью 20 Вт включительно, то есть 4, 6, 8, 15, 18 и 20 Вт; 65С-220 – стартер для люминесцентных ламп мощностью 65 Вт. Но если в маркировке указано 8 °C-220, то это означает «стартер для люминесцентных ламп предельной мощностью 80 Вт включительно, за исключением ламп мощностью 65 Вт, то есть 13, 30, 36, 58 и 80 Вт».

В электрическую цепь стартер включают параллельно люминесцентной лампе. Для подсоединения стартер имеет контактные штырьки, которые вставляют в гнезда стартеродержателя, после чего стартер поворачивают по часовой стрелке до упора.

Саму лампу соединяют с патроном расположенными на ее торцах штырьками – контактными электродами: штырьки обоих цоколей одновременно вставляют в прорези в верхней части патрона до упора и лампу осторожно поворачивают на 90°.

Как уже отмечалось, люминесцентные лампы очень капризны в отношении влажности и температуры воздуха окружающей среды. Так, если относительная влажность достигает 75–80 %, они могут не зажечься; аналогичная неприятность случается и при температурах, выходящих за диапазон 10–35 °C.

Помочь здесь может тонкая токопроводящая полоса (например, из металлической фольги), приклеенная на колбу лампы и заземленная или зануленная, либо покрытие стеклянной колбы слоем гидрофобного прозрачного лака.

Механизм люминесцентной лампы реагирует и на понижение напряжения в сети на 10 %, что также следует учитывать при выборе в качестве осветительного прибора светильника с люминесцентными лампами.

Если цоколь лампы накаливания (неважно, является ли она самостоятельным источником света или используется в качестве балласта при включении лампы люминесцентной) приржавел к патрону и лампу в патроне заклинило, то следует вывернуть нижнюю часть патрона вместе с лампой, отключив, конечно же, предварительно автоматический выключатель или вывернув пробки. Полученное неразъемное соединение патрон – цоколь можно разъединить, разбив колбу и используя пассатижи; но смысла в этом нет, ибо дальнейшая эксплуатация заржавевшего патрона не рекомендуется.

Подобная неприятность может случиться и с люминесцентной лампой, и здесь следует действовать особенно осторожно, не допуская повреждения стеклянной трубки, поскольку в ней находятся пары ртути – опасный и сильнодействующий яд.

Вообще, большинство неисправностей люминесцентного светильника нельзя исправить в бытовых условиях и только некоторые из них можно устранить самостоятельно (табл. 7).

Таблица 7. Неисправности люминесцентного светильника; их причины и порядок устранения

В схеме включения в электрическую цепь дуговой ртутной лампы (рис. 67) стартер отсутствует, поскольку не требуется отключения нитей накаливания после возникновения разряда между электродами.

Рис. 67. Схема включения в электрическую цепь ламп ДРЛ: FU – предохранитель; C – конденсатор; EL – лампа ДРЛ; LL – дроссель.

Однако конденсатор и дроссель необходимы: конденсатор включают параллельно с лампой, дроссель – последовательно.

А теперь несколько полезных советов по поводу установки, эксплуатации и ремонта осветительных приборов и источников светового излучения (ламп).

Первый совет стал уже традиционным: прежде чем устанавливать светильник, монтировать его в электрическую сеть, осматривать на предмет выявления неисправностей и ремонтировать, необходимо вывернуть предохранители (пробки) на распределительном щитке или счетчике или отключить автоматические выключатели.

Производить все вышеперечисленные работы предпочтительно в светлое время суток, пользуясь естественным освещением. Если же помещение, в котором предстоит работать, не имеет естественного освещения или необходимо сделать срочный ремонт, то можно воспользоваться автономными источниками освещения: электрическими фонарями на батареях, осветительными лампами, работающими от автомобильного аккумулятора и т. п.

Прежде чем подключить к электроцепи осветительный прибор, нужно выяснить, в каком состоянии проводка в месте подключения, а также есть ли крюк для люстры.

Одним из недостатков практически всех светильников с лампами накаливания является слишком близкое расположение клемм для подключения разнополюсных проводов, поэтому следует внимательно следить за тем, чтобы провода, подходящие к клеммам люстры, были надежно изолированы друг от друга.

У подавляющего большинства потолочных светильников (люстр) на стержне имеются декоративные колпачки, которые закрывают провода, подвесной крюк и клеммник (некоторые из колпачков снабжены винтами для фиксации в верхнем положении). Длина подвесного крюка должна быть несколько меньше, чем длина декоративного колпачка, чтобы последний полностью закрывал клеммник и провода.

  • Читать дальше
  • 1
  • ...
  • 32
  • 33
  • 34
  • 35
  • 36
  • 37
  • 38
  • 39
  • 40
  • 41
  • 42
  • ...

Ебукер (ebooker) – онлайн-библиотека на русском языке. Книги доступны онлайн, без утомительной регистрации. Огромный выбор и удобный дизайн, позволяющий читать без проблем. Добавляйте сайт в закладки! Все произведения загружаются пользователями: если считаете, что ваши авторские права нарушены – используйте форму обратной связи.

Полезные ссылки

  • Моя полка

Контакты

  • chitat.ebooker@gmail.com

Подпишитесь на рассылку: