Вход/Регистрация
Электрика в доме
вернуться

Коршевер Наталья Гавриловна

Шрифт:

Простейшим бытовым водонагревательным прибором, в котором используется ТЭН, является электрокипятильник; по сути, кипятильник – это ТЭН с ручкой и шнуром. Ручка кипятильника имеет крюк (или сама выполнена в виде крюка), благодаря чему кипятильник укрепляют на краю емкости, в которой нагревается вода.

Всевозможные электрические чайники, самовары, кофейники представляют собой емкости для нагрева воды, в нижнюю часть которых вмонтирован ТЭН той или иной формы.

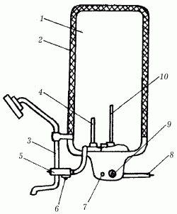
При устройстве на дачном участке горячего душа зачастую используют аккумуляционные водонагреватели низкого давления (типа ЭВАН) все с тем же трубчатым нагревательным элементом мощностью до 1,24 кВт. Схема его подключения к водопроводной трубе и разбрызгивателю душа показана на рис. 93.

Рис. 93. Устройство электроводонагревателя типа ЭВАН: 1 – емкость для воды; 2 – теплоизоляционный кожух; 3 – трубка смесителя; 4 – терморегулятор; 5 – смеситель; 6 – патрубок для ввода холодной воды; 7 – сигнальная лампа; 8 – электрошнур; 9 – ручка регулятора температуры; 10 – ТЭН.

Выпускаются нагреватели ЭВАН емкостью 10, 40 и 100 л. Прогрев воды до температуры, на которую установлена ручка терморегулятора, происходит, соответственно, за 1, 2, 3, и 7, 8 часов.

Исправность и продолжительность срока службы электрических водонагревательных приборов зависит от того, насколько правильно их эксплуатируют и ухаживают за ними. Правила эксплуатации подобных приборов несложны, поэтому запомнить и придерживаться их не составит особого труда.

Следует помнить, что приборы, предназначенные для нагрева воды (электрочайники, кофейники и пр.), можно включать в электросеть только в том случае, когда они заполнены водой не менее чем на 1/3 своего объема, в противном случае ТЭН перегорит (а ремонту, как известно, он не подлежит).

На нагревательной трубке кипятильника имеются специальные риски, указывающие нижнюю и верхнюю границы заполненности емкости водой перед включением кипятильника в электросеть. Если вода не доходит до нижней риски, то можно сжечь прибор; если вода поднимается выше верхней риски, то есть вероятность короткого замыкания.

Резкий перепад температур неблагоприятно действует на спираль ТЭНа, поэтому нельзя выливать воду из чайника, самовара и т. д. до оголения ТЭНа, пока он не остыл. Также не следует наливать или доливать холодную воду на нагретую поверхность трубчатого нагревателя.

Длительная эксплуатация водонагревательных приборов (особенно при жесткой воде) приводит к образованию на поверхности ТЭНа накипи (осадка минеральных солей), что снижает теплопроводность и ведет к нерациональному перерасходу электроэнергии. Поэтому накипь периодически следует удалять, воспользовавшись одним из предлагаемых рецептов:

– в 1 объемную часть соляной кислоты осторожно влить 4 объемные части воды; полученным раствором ополоснуть внутреннюю поверхность емкости прибора и поверхность ТЭНа, после чего прибор тщательно промыть чистой водой;

– если чайник пластмассовый, то вместо довольно агрессивной соляной кислоты лучше использовать мягкую лимонную. Для этого необходимо вскипятить в чайнике 0,5 л воды и добавить 25 г порошка лимонной кислоты. Оставить отмокать в течение 15 минут, после чего тщательно ополоснуть чайник чистой водой;

– можно залить в чайник 0,5 л (или до полного покрытия ТЭНа) 8 %-ный белый уксус, оставить на 1 час без кипячения, затем жидкость слить, а чайник промыть чистой водой;

– можно использовать и народное средство – засыпать в емкость чистые картофельные очистки и залить водой, прокипятить, удалить очистки и ополоснуть емкость с ТЭНом большим количеством чистой воды.

А теперь о неисправностях электрических водонагревателей.

Если прибор подключен к сети, его шнур, вилка и штепсельная розетка исправны, но вода не нагревается, нужно проверить нагревательный элемент (ТЭН), а точнее, исправность его контактных соединений. Для этого отключают прибор от сети, удаляют из емкости всю воду, просушивают. Затем следует отвернуть винты крепления поддона и снять его (так нагревательный элемент будет более доступен).

Очень часто причина неисправности скрывается в нарушении контактов в местах подсоединений выводов нагревательного элемента; поэтому в первую очередь проверяют именно их: отворачивают крепящие винты и снимают зажимную шайбу. Если соединения действительно нарушены, то их восстанавливают.

Если же с контактами все в порядке, то, возможно, неисправен сам нагревательный элемент, его следует заменить: контакты выводов ТЭНа размыкают, ТЭН заменяют на новый.

Пылесос

Пылесос не относится к электрическим приборам первой необходимости, таким, как, например, утюг или холодильник. И все-таки наличие пылесоса в доме или квартире значительно облегчает жизнь домашним хозяйкам, помогая им в уборке.

А ведь немногим более века назад люди и понятия не имели, что для уборки жилища могут быть какие-либо еще приспособления, помимо веника и влажной тряпки. Поэтому появление в самом конце прошлого века в США прибора, представляющего собой насос с ручным приводом и соплом-метелкой для сбора пыли, стало поистине революционным событием. Обслуживали первый пылесос два человека: один отвечал за работу насоса – крутил ручку, другой – собирал пыль соплом-метелкой; размер такого пылесоса был внушительным: его высота достигала 1,5 м.

  • Читать дальше
  • 1
  • ...
  • 61
  • 62
  • 63
  • 64
  • 65
  • 66
  • 67
  • 68
  • 69
  • 70
  • 71
  • ...

Ебукер (ebooker) – онлайн-библиотека на русском языке. Книги доступны онлайн, без утомительной регистрации. Огромный выбор и удобный дизайн, позволяющий читать без проблем. Добавляйте сайт в закладки! Все произведения загружаются пользователями: если считаете, что ваши авторские права нарушены – используйте форму обратной связи.

Полезные ссылки

  • Моя полка

Контакты

  • chitat.ebooker@gmail.com

Подпишитесь на рассылку: