Вход/Регистрация
Электрика в доме
вернуться

Коршевер Наталья Гавриловна

Шрифт:

Стружка и опилки могут попасть под направляющие рубанок лыжи, тогда глубина среза древесного слоя может измениться, поэтому надо следить за этим.

Причинами неравномерной обработки поверхности древесины может быть неправильное и неравномерное расположение фрез и затупление их режущей части. Возможно также и забивание скользящей поверхности большим количеством опилок или стружки.

Перегрев мотора электрорубанка и выход его из строя может произойти из-за нажатия на инструмент сверху во время работы и от отсутствия смазки в сальниках.

Обрабатываемая электрорубанком поверхность не всегда получается ровной и гладкой. Первый дефект возникает при неправильном и неравномерном расположении режущих фрез в пазу относительно уровня лыж. Второй дефект является результатом использования тупых фрез.

Меры безопасности при работе с электрорубанком заключаются в основном в исправности проводки, в осторожном обращении с режущим инструментом и в выключении инструмента на время перерыва.

После работы электрорубанком необходимо вынуть фрезы из пазов, очистить их керосином и уложить инструмент в коробку.

Электродолбежник

Электродолбежник используют для выборки древесины под прямоугольные гнезда для крепления деталей. Основная часть этого инструмента – долбежная цепь, которая состоит из небольших резцов, связанных между собой шарнирами.

Для получения гнезд различных размеров необходимо только поменять пластинку, на которой крепится долбежная цепь, глубину же выборки регулируют с помощью опускания ручки.

Чтобы получить ровные края гнезда крепления, сначала затачивают или зачищают резцы, а только потом готовят станок к работе. Затем закрепляют доску или деталь на верстаке, устанавливают на ней станок и включают его.

Если закрепить электродолбежник на верстаке, получится неподвижный станок. При работе с долбежным станком необходимо соблюдать меры предосторожности. Прежде всего они заключаются в правильном креплении долбежной цепи, исправности электропроводки, правильной подаче массива древесины при использовании закрепленного станка. Если станок не закреплен, то обязательно следят за тем, чтобы хорошо был закреплен брусок. Нельзя работать с незаземленным станком.

Электронасосы

В сельской местности, где нет централизованного водоснабжения, среди домашнего электрооборудования наверняка есть электрический насос для поднятия воды из колодцев и скважин.

Конструктивно любой электронасос состоит из двух частей: двигателя, работающего от электросети, и собственно насоса. По принципу действия различают два типа насосов: центробежные («Кама», «Агидель», «Урал») и вибрационные («Малыш», «Струмок», «Родничок»).

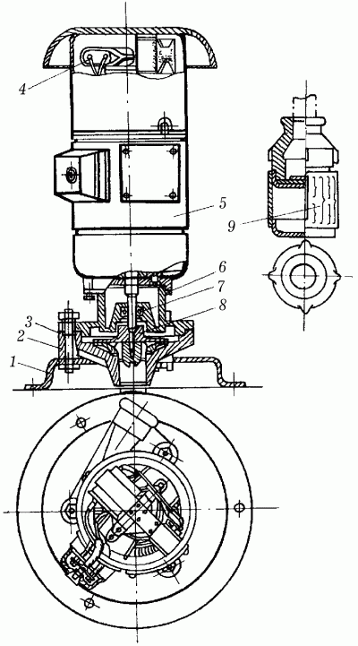
Механизм центробежного насоса (рис. 95) состоит из рабочего колеса с лопастями, всасывающего трубопровода и приемного устройства с обратным клапаном.

Рис. 95. Электронасос центробежного типа «Кама»: 1 – подставка; 2 – основание корпуса; 3 – прокладка; 4 – помехоподавляющее устройство; 5 – электродвигатель; 6 – крышка насоса; 7 – сальник; 8 – рабочее колесо; 9 – приемное устройство.

Забор воды из водоносной жилы, колодца или водоема и ее транспортировка к месту потребления осуществляются следующим образом: при вращении рабочего колеса во всасывающем патрубке образуется вакуум, за счет чего вода непрерывно поступает во всасывающий трубопровод и под воздействием центробежной силы выбрасывается из корпуса насоса в напорный трубопровод, по которому поступает в резервуар или на раздачу.

Обязательным условием работы центробежных насосов является наличие воды в рабочем колесе и всасывающем трубопроводе перед включением его в сеть. Для удержания воды в этих деталях на то время, пока насос бездействует, предназначено приемное устройство, снабженное фильтром и обратным клапаном. При установке насоса необходимо проследить за тем, чтобы приемное устройство было расположено строго вертикально, поскольку обратный клапан закрывается под действием собственного веса. Прежде чем запустить насос в работу впервые или после ремонта, в его корпус следует предварительно налить воду.

Для того чтобы оградить электродвигатель от попадания на него влаги, вал, выходящий из насоса для насадки электродвигателя, уплотнен сальником, который состоит из двух резиновых манжет и вставки между ними; крепится сальник с помощью двух шайб и стягивающей гайки.

Чтобы КПД центробежного насоса был максимальным, зазор между выступами рабочего колеса и расточками в крышке и корпусе насоса не должен превышать 0,15 мм. Производительность центробежных насосов – до 1,5 м3/ч; рассчитаны они на напор в 17 м, максимальная высота всасывания – до 7 м.

Действие насосов вибрационного типа основано на использовании электромагнитных колебаний: под действием частоты тока электромагнит создает колебания, передаваемые клапану-поплавку, мембрана которого начинает вибрировать, захватывая воду из водоносного слоя и проталкивая ее по трубопроводу. Конструкция клапана препятствует обратному току воды.

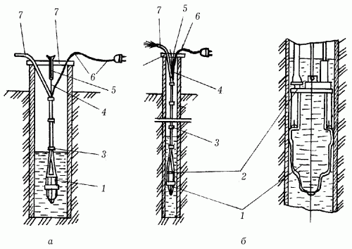
При работе насос вибрационного типа должен быть полностью погружен в воду (рис. 96).

Рис. 96. Установка электронасоса вибрационного типа: а – в обсадной трубе скважины; б – в колодце; 1 – насос; 2 – кольцо; 3 – связка провода со шлангом; 4 – капроновая подвеска; 5 – пружинная подвеска; 6 – провод; 7 – шланг.

  • Читать дальше
  • 1
  • ...
  • 65
  • 66
  • 67
  • 68
  • 69
  • 70
  • 71
  • 72
  • 73
  • 74
  • 75
  • ...

Ебукер (ebooker) – онлайн-библиотека на русском языке. Книги доступны онлайн, без утомительной регистрации. Огромный выбор и удобный дизайн, позволяющий читать без проблем. Добавляйте сайт в закладки! Все произведения загружаются пользователями: если считаете, что ваши авторские права нарушены – используйте форму обратной связи.

Полезные ссылки

  • Моя полка

Контакты

  • chitat.ebooker@gmail.com

Подпишитесь на рассылку: