Вход/Регистрация
Электрика в доме
вернуться

Коршевер Наталья Гавриловна

Шрифт:

– небольшие голубовато-белые искры, практически всегда присутствующие на бегающем крае щетки, допускают дальнейшую эксплуатацию двигателя без каких-либо ограничений; такие искры характерны для 1, 1,25 и 1,5 классов коммутации;

– появление удлиненных искр желтоватого оттенка свидетельствует о принадлежности искрения ко 2-му классу коммутации; дальнейшая эксплуатация двигателя возможна с небольшими оговорками;

– если искры приобрели зеленую окраску, а на рабочей поверхности щеток присутствуют частички меди, то эксплуатировать электродвигатель далее нельзя, поскольку имеется механическое повреждение коллектора двигателя.

Единственная ремонтная операция, за которую может взяться домашний электрик, не имеющий специальных знаний по электротехнике, – это замена изношенных щеток. Для этого необходимо снять крышку корпуса мотора и колпачки щеткодержателей, отсоединить изношенные щетки и установить новые, соблюдая тип соединения с контактами (скрутка или пайка).

Прочий же ремонт электродвигателей настоятельно рекомендуется поручить специалистам-профессионалам, поскольку двигатели и переменного, и постоянного тока – механизмы достаточно сложные и дорогостоящие, чтобы производить на них опыты и эксперименты.

Конструирование своими руками

При наличии инженерно-конструкторской жилки многое можно смастерить своими руками. В этой книге предлагается несколько достаточно простых схем, собрав которые можно не только получить удовольствие от занятия любимым делом, но и сделать вполне конкретные устройства, полезные с чисто практической точки зрения.

Сконструировали все эти приборы школьники из тульского клуба научно-технического творчества молодежи «Электрон». В свое время схемы этих устройств были опубликованы в периодических изданиях, но, поскольку издания в основном были предназначены для узкого круга специалистов, широкой известности эти устройства не приобрели.

Предлагаем широкой аудитории читателей воспользоваться схемами этих устройств.

Устройство для зачистки электропроводов от изоляции

Первым пунктом в порядке осуществления любого вида соединения проводов значится: «Освободить концы соединяемых проводов от изоляции на длину…». Для этого обычно предлагается использовать: нож, ножницы, бокорезы, но в результате такой зачистки, как правило, повреждается и сама металлическая жила. К тому же, если в изоляции провода имеется шелковая оплетка, удалить ее этими инструментами очень трудно.

А что если попробовать автоматизировать операцию по удалению изоляции с монтажных электропроводов? Приспособление, схема которого приведена на рис. 101, позволит не только быстро и качественно удалить с концов проводов изоляционную оболочку, но и сохранить их металлические жилы в неприкосновенной целостности.

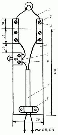
Рис. 101. Устройство для удаления изоляции с монтажных проводов: 1 – нихромовая проволока; 2 – держатель; 3 – винт; 4 – текстолитовая пластина; 5 – кнопка; 6 – винт; 7 – токопроводящие провода; 8 – хомут.

Потребуется: текстолитовая пластина толщиной 6–10 мм и площадью около 120 х 30 мм; нихромовая проволока диаметром 0,7–0,9 мм, держатели, винты, кусочки электрического провода, кнопка и металлический хомут. Сборка приспособления не составит труда даже для начинающего электрика: все детали монтируются на текстолитовой пластине с помощью винтов. Теперь необходимо позаботиться о питании приспособления электрическим током. Напрямую включить его в домашнюю электросеть нельзя, из-за того что тонкая нихромовая проволока не в состоянии выдержать напряжение 220 В. Поэтому подключают устройство в сеть через трансформатор, вторичная обмотка которого рассчитана на напряжение 4–5 В при токе 4–5 А.

Если такого трансформатора под рукой нет, его можно намотать самостоятельно: за основу берется трансформатор марки ТВК-110Л-1, с которого удаляются все вторичные обмотки; затем наматывается новая вторичная обмотка, состоящая из 45 витков провода ПЭВ-1 диаметром 1,2 мм. Во время работы приспособления первичная обмотка трансформатора всегда должна быть подсоединена к сети, а ко вторичной кратковременно подключают нихромовую проволоку (замыкая с помощью кнопки цепь).

Работает устройство так: на 2–3 секунды нажимают кнопку, конец обрабатываемого провода вводят внутрь рабочей части нихромовой проволоки, провод поворачивают на 1–1,5 оборота. Отрезанную таким образом изоляцию легко удалить с помощью пинцета.

Регулятор мощности электропаяльника

Всем, кто когда-либо сталкивался с пайкой (даже если это было еще в детстве, в кружке «Юный техник»), прекрасно известно, как важно правильно подобрать мощность электропаяльника для осуществления паяных соединений. Ведь большая мощность дает большую температуру паяльного жала, а перегрев паяльника приводит к окислению припоя, паяные соединения получаются недостаточно прочными, а при пайке полупроводниковых приборов возможно их повреждение.

  • Читать дальше
  • 1
  • ...
  • 70
  • 71
  • 72
  • 73
  • 74
  • 75
  • 76
  • 77
  • 78
  • 79
  • 80
  • ...

Ебукер (ebooker) – онлайн-библиотека на русском языке. Книги доступны онлайн, без утомительной регистрации. Огромный выбор и удобный дизайн, позволяющий читать без проблем. Добавляйте сайт в закладки! Все произведения загружаются пользователями: если считаете, что ваши авторские права нарушены – используйте форму обратной связи.

Полезные ссылки

  • Моя полка

Контакты

  • chitat.ebooker@gmail.com

Подпишитесь на рассылку: