Вход/Регистрация
Электрика в доме
вернуться

Коршевер Наталья Гавриловна

Шрифт:

В домашней мастерской, оснащенной станками с электродвигателями, возможно, потребуется подсоединить и подключить к сети двигатели постоянного тока. Для этого существует несколько схем.

Наибольшее распространение получила схема включения с помощью пускового реостата, понижающего пусковой ток, поскольку при включении двигателя возникает пусковой ток, который превышает номинал в 10–20 раз. Обмотка электродвигателя может попросту не выдержать, и это приведет к выходу из строя как самого двигателя, так и других элементов цепи.

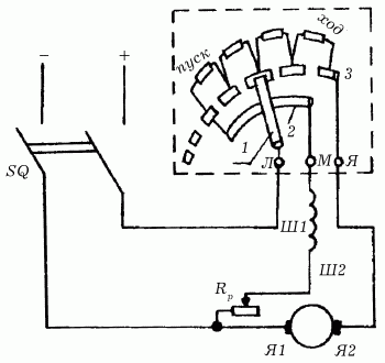
Подключают пусковой реостат последовательно с цепью якоря (рис. 100).

Рис. 100. Схема включения в сеть двигателя постоянного тока: Л – зажим, соединенный с сетью; М – зажим, соединенный с цепью возбуждения; Я – зажим, соединенный с якорем; 1 – дуга; 2 – рычаг; 3 – рабочий контакт.

Такая схема наиболее приемлема для двигателей мощностью более 0,5 кВт.

Величина пускового сопротивления реостата рассчитывается по формуле:

где Rп – пусковое сопротивление реостата (Ом); U – напряжение сети (110 либо 220 В); Iном – номинальный ток двигателя (А); Rя – сопротивление обмотки якоря (Ом).

Порядок включения в сеть двигателя постоянного тока следующий:

– рычаг на реостате устанавливают на холостой контакт – 0;

– включают сетевой рубильник и переводят рычаг реостата на первый промежуточный контакт.

При этом двигатель возбудится, а в цепи якоря потечет пусковой ток, величина которого будет зависеть от большого сопротивления, складывающегося из всех четырех секций пускового реостата;

– с увеличением частоты вращения якоря пусковой ток должен уменьшиться, что позволит уменьшить и пусковое сопротивление; для этого переводят рычаг реостата на второй, затем на третий контакт и т. д., пока он не окажется на рабочем контакте (рычаг реостата нельзя долго держать на промежуточных контактах, так как пусковые реостаты рассчитаны на непродолжительное время работы и задержка их в таком режиме приводит к перегреву и выходу из строя).

Существует и порядок отключения двигателей постоянного тока от сети, поскольку выключаются они не сразу: сначала рукоятку реостата переводят в крайнее левое положение (разумеется, двигатель при этом отключится, но обмотка возбуждения все же останется замкнутой на сопротивление реостата) и только затем отключают питание двигателя. Если пренебречь подобным порядком отключения и выключить электродвигатель сразу, то в момент размыкания цепи в ней может возникнуть такое большое напряжение, что двигатель выйдет из строя.

Степень исправности коллекторного электродвигателя

Тот, кто по роду своей деятельности или в силу природного любопытства, имел дело с двигателями постоянного тока, непременно должен был обратить внимание на постоянное искрение, присутствующее на коллекторе двигателя во время его работы.

Само по себе искрение необязательно свидетельствует о неисправности двигателя или о невозможности его эксплуатации, поскольку причины возникновения искрения самые различные: от присутствия почернения на коллекторе или нагара на щетках до неправильной их установки и плохого прилегания щеток к коллектору или повышенной вибрации щеточного устройства.

Практика показывает, что полностью избавиться от искрения на коллекторе не удается даже в тех случаях, если щетки двигателя установлены абсолютно правильно, по заводским меркам, с плотным прилеганием их к коллектору; если отсутствует вибрация, если поверхность коллектора и щеток не имеет загрязнений, почернений и нагаров.

Задача домашнего электрика, работающего с двигателем постоянного тока, – научиться правильно определять степень допустимого искрения на коллекторе. А для этого существуют определенные нормы искрения, зная которые можно без труда отличить исправный двигатель (несмотря на наличие искрения) от того, которому нужна профилактика в ремонтной мастерской.

Нормы определяются по специально разработанной шкале классности, так называемым классам коммутации (табл. 9).

Таблица 9. Степень и характеристика искрения на коллекторе двигателя постоянного тока

Эксплуатация двигателей 1, 1,25 и 1,5 классов коммутации возможна без ограничений.

Двигатели с искрением 2-го класса коммутации можно эксплуатировать лишь в том случае, если оно происходит только в моменты резкого увеличения нагрузки либо при работе в режиме перегрузки.

Третий класс коммутации ограничивает возможность дальнейшей эксплуатации двигателя. Если и коллектор, и щетки находятся в пригодном для работы состоянии, то такое искрение допустимо только в момент прямого включения без использования реостатных ступеней или реверсирования машины.

Опытный электрик может определить степень возможности дальнейшей эксплуатации электромотора не только по характеристике искрения и состоянию коллектора и щеток, но и по цвету искр, появляющихся на коллекторе:

  • Читать дальше
  • 1
  • ...
  • 69
  • 70
  • 71
  • 72
  • 73
  • 74
  • 75
  • 76
  • 77
  • 78
  • 79
  • ...

Ебукер (ebooker) – онлайн-библиотека на русском языке. Книги доступны онлайн, без утомительной регистрации. Огромный выбор и удобный дизайн, позволяющий читать без проблем. Добавляйте сайт в закладки! Все произведения загружаются пользователями: если считаете, что ваши авторские права нарушены – используйте форму обратной связи.

Полезные ссылки

  • Моя полка

Контакты

  • chitat.ebooker@gmail.com

Подпишитесь на рассылку: